Vernier Angle Gauges
Requirements for Vernier Angle Gauges after Repair, and Inspection Methods. The outer surfaces of the angle gauge components must be free of scratches, nicks, corrosion, or other defects that could affect the accuracy of their readings. Scale lines and numbers must be clear and easily visible. Vernier lines must overlap the scale lines. When the first vernier line aligns with the base scale line, the last vernier line must align with the corresponding line of this scale. All listed requirements are verified by visual inspection.
Movable parts of the angle gauges must move smoothly and be securely fastened in the required position. For angle gauges with a hinged axis, there should be no play when the locking device is released; locking the angle gauge should not affect its readings.
Interaction of the parts is checked by testing by moving and securing the moving parts of the angle gauges. For protractor meters with a hinge axis, the parts located on this axis are rocked with the stopper released.
The gap between the vernier and the base must not exceed 0.05 mm. To check the gap, insert a Class 2 accuracy feeler gauge into the gap between the vernier and the base. The 0.05 mm feeler gauge must not fit into the gap (the feeler gauge may jam).
Repair of protractor meters with a vernier. The following defects are possible for protractor meters: a) deformation of the base and rulers; b) wear of the measuring surfaces and micrometer pair; c) incorrect zero setting; d) corrosion and nicks on the surfaces.
The sequence of repair operations is as follows: 1) disassembly; 2) straightening; 3) cleaning; 4) finishing; 5) flushing; 6) assembly; 7) zero setting; 8) lubrication.
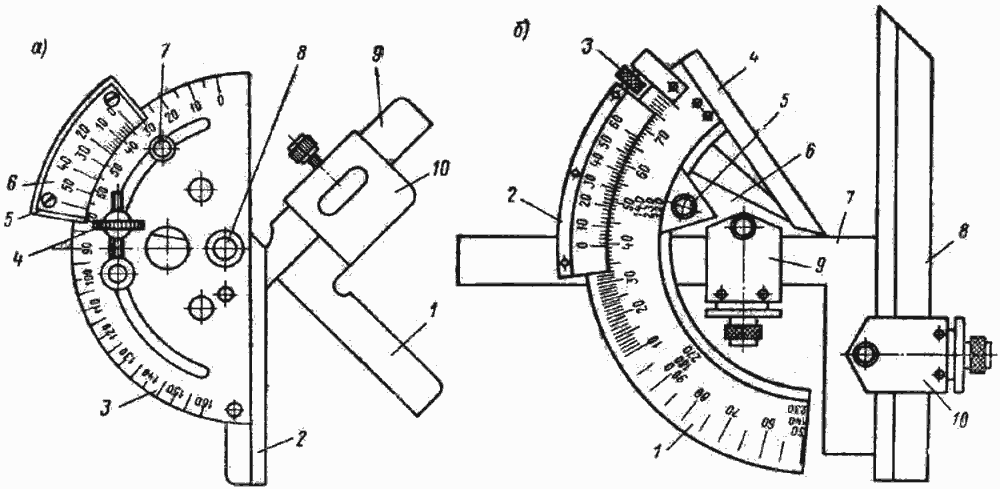
Vernier Protractors: a — Type UM; b — Type UN
When disassembling the UM protractor, loosen clamp 10 and remove it along with square 1. Disassemble micrometer 4, stopper 7, and unscrew axle 8. Check the base with a straightedge and, if any deformation is detected, correct it by straightening it on an anvil through a copper mandrel. Any nicks are treated with a personal file and fine emery cloth, maintaining the direction of the marks.
Fixed straightedge 2 of the base and movable straightedge 9 are adjusted simultaneously by aligning the straightedges in the same plane. The measuring planes of the square for measuring angles from 0 to 90° are adjusted on a plate, checking the right angle with a straightedge held against the light. The measuring surfaces are checked against the light with a straightedge, and any wear is noted. Next, the surfaces are filed with a file, removing any noticeable bulges. The surfaces are finished on the plate by pressing the ruler against the finishing cube. The protractor parts are washed in a bath. Sector 5 is attached to base 3 and the axis is screwed in place. Micrometer device 4 and stop 7 are installed. The zero mark is determined using a straightedge. If the zero marks on the vernier scale do not align, the scale marks are aligned by moving the vernier by sawing out the holes for the screws. The surfaces of the protractors are wiped with a cloth and coated with a thin layer of oil.
***
