Пылеулавливающий аппарат для сухой очистки газов
Предлагаемое для изготовления и реализации устройство - Пылеулавливающий аппарат для сухой очистки газов.
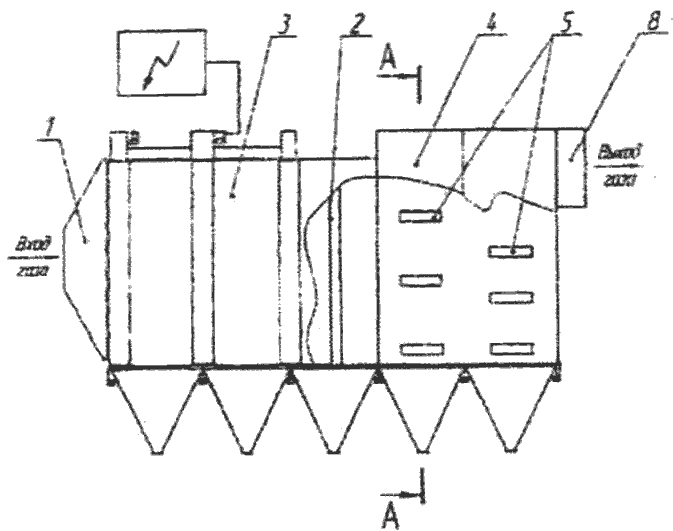
Содержит корпус с установленными в нем последовательно электрофильтром и тканевым фильтром, отличающийся тем, что он снабжен расположенным между электрофильтром и тканевым фильтром устройством газораспределения, при этом тканевый фильтр выполнен, по крайней мере, с двумя коллекторами входа, а каждая секция тканевого фильтра снабжена, по крайней мере, двумя входами, равномерно расположенными на разных уровнях по высоте входного коллектора, причем соотношение объемов тканевого фильтра и электрофильтра от 0,5 до 1,3.
Федоров Борис Сергеевич,
Курто Владимир Александрович,
Троицкий Анатолий Александрович,
Маслов Алексей Степанович,
Пятигорский Александр Наумович
ЗАО "Финго Инжиниринг"
***
